子公司信息

Company News

首頁  信息中心  子公司信息

西安創業水務有限公司

發布于?2022-11-16

西安創業水務有限公司
 
一、企業概況
1.公司簡介
西安創業水務有限公司,是天津創業環保股份集團有限公司通過西安市以資產轉讓—運營—移交(TOT)形式,在西安市成立的具有獨立法人資格的子公司。公司于2008年1月21日正式注冊成立,5月17日開始正式商業運營,注冊資金2.7億元。公司下轄西安市鄧家村污水處理廠和北石橋污水處理廠,日污水處理能力27萬噸。
截至2021年底,西安公司實現總資產9.54億元,凈資產5.95億元。目前,西安公司以污水運營為主營業務,以一體化設備制造與銷售、污水處理技術服務與調試、污水站提標改造與技術服務、學生實習及職工培訓等為經營單元的小微發展模式。
自成立以來,西安創業水務有限公司以“還碧水于世界,送清新于人間”為愿景,始終站在環保產業的前沿。面對“十四五”,西安公司緊緊圍繞市場化、專業化、高端化的發展目標,深挖企業可持續發展潛力,搭建多維度延續發展方向,創建“全產業鏈生態環境品牌服務供應商”。
2.工商登記信息
統一社會信用代碼:91610131668679180Q
類型:有限責任公司(外商投資企業法人獨資)
法定代表人:趙凱
經營范圍:一般項目:污水處理及其再生利用;水污染治理;雨水、微咸水及礦井水的收集處理及利用;非常規水源利用技術研發;大氣環境污染防治服務;固體廢物治理;工程管理服務;市政設施管理;環境保護專用設備制造;污泥處理裝備制造;水資源專用機械設備制造;環境監測專用儀器儀表制造;通用設備制造(不含特種設備制造);專用化學產品制造(不含危險化學品);環境保護專用設備銷售;專用化學產品銷售(不含危險化學品);實驗分析儀器制造;機械設備銷售;儀器儀表銷售;儀器儀表修理;通用設備修理;電氣設備修理;水環境污染防治服務;運行效能評估服務;智能水務系統開發;環保咨詢服務;技術服務、技術開發、技術咨詢、技術交流、技術轉讓、技術推廣;會議及展覽服務;停車場服務;業務培訓(不含教育培訓、職業技能培訓等需取得許可的培訓)。(除依法須經批準的項目外,憑營業執照依法自主開展經營活動)許可項目:房屋建筑和市政基礎設施項目工程總承包。(依法須經批準的項目,經相關部門批準后方可開展經營活動,具體經營項目以審批結果為準)
注冊資本:肆億柒仟陸佰壹拾柒萬元人民幣
成立日期:2008年01月21日
住所:西安市高新區科技路48號創業廣場B2702
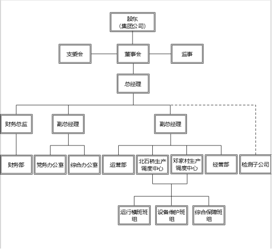
二、組織/治理架構圖
 
三、黨的建設
西安創業水務有限公司黨支部成立于2008年5月,受天津創業環保集團公司黨委、西安市水務局機關黨委領導。2022年7月,經黨員大會選舉產生第五屆支部委員會,配備支部書記1人、組織兼宣傳委員1人、紀檢委員1人。黨支部目前共有黨員29名,下設機關、北石橋、鄧家村3個黨小組。
西安創業水務有限公司黨支部始終堅持以黨的政治建設為統領,深入學習貫徹黨的二十大精神,持之以恒推進全面從嚴治黨,不斷鞏固深化三項制度改革成果,著力加強領導班子和干部隊伍建設,堅持服務中心工作不偏離,致力把黨建融入運營管理、業務拓展、項目建設等各項工作,加快推動企業高質量發展。
四、重要人事變動
近一個月內,本企業無重要人事變動。
五、聯系方式
029-84267981